线束工程师服务平台
可以搜到:产品、技术、资料、新闻、检测、企业、视频
线束防水性是线束设计中不容忽视的一项内容,本文将对线束的防水设计做简要分析。
整车干湿区分布
汽车涉水深度是指汽车所能通过的最深水域,也是安全深度。
涉水线以下及发动机舱的区域称为湿区,相对的把安装在驾驶室、乘员室、行李舱内等部位的电线束不需做特殊防水防护处理的区域称为干区。
为提高整车的涉水通过性和整车安全性,在进行电气系统设计时应充分考虑整车的涉水深度,并将整车关键的电器件布置在干区。

线束布置
根据整车的干湿区分布情况,我们将整车线束分为以下几个部分:前舱线束、动力总成线束、仪表线束、室内线束、顶棚线束、四门线束及背门线束。
根据整车的干湿区分布情况,前舱线束、动力总成线束及四门线束位于湿区,此部分钱束需做防水防护处理,并且与室内相连的部分应使用橡胶件进行密封。
其余线束位于干区,接插件不用选用防水型, 但与外界连接时为了防止水进人室内也应做相应的防水处理。

线束防水设计
01 线束缠绕方式
①半封装绕法:将电线捆成一捆,绝缘胶带的宽度大约1/2倍缠绕,要求看不见中间电线、绝缘胶带粘贴面不外露。
②粗绕法:将电线捆成一捆,绝缘胶带的间距宽度为胶带宽度的0至1.5倍缠绕,要求绝缘胶带粘贴面不外露。

前舱线束、动力总成线束直接和外界接触,需做特殊防水处理,线束要求采用半封装绕。
下雨或洗车的工况下门线束有大概率会接触到水, 故门线束同样需要做特殊防水处理,要求采用半封装绕法,以防止水进人线束造成短路影响整车安全。

对于需做特殊防水处理的线束:
由于线束缠绕对防水至关重要,所以必须要求线束厂家按要求进行缠绕,以保证整车用电安全。

02 防水接插件的选用
整车接插件的作用主要有两点:
①实现和电器件的对接, 保证信号传递的可靠性, 同时保证绝缘和防止短路。
②利用接插件自身带有定位卡子, 可防止接插件产生运动。
原则上驾驶室外的接插件需采用防水型,例如:发动机舱内的接插件需选择带防水橡胶密封塞的。

由于密封的影响,防水型接插件工作时会在接触点产生热量,导致温升,一般认为防水接插件的工作温度等于环境温度与接点温升之和。
所以在选用防水接插件时要兼顾其耐温特性。
03 密封

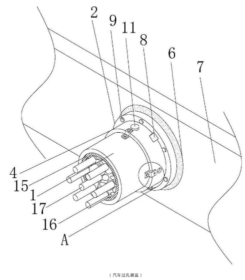
线束需要穿过车身钣金孔时须加橡胶保护套进行防护,建议过盈量在对于大于40mm的孔,需进行翻边设计,主要起到保护线束、防水和密封等作用。
一般情况有两种过孔形式:
①一种是简单钣金孔,并不涉及运动件,此时要注意过孔前后线束的相对位置,要求室外部分线束髙度低于室内线束。
②对于涉及运动件时要充分考虑橡胶件和接口的设计,保证在运动过程中不产生干涉和摩擦的前提下,考虑橡胶件的密封和孔的相对位置, 尽量使室外的孔低于连接室内的钣金孔。

04 线束布置防护
电器系统进水最主要的一点就是水依靠自身重力渗入电器系统,除采用常规的防水材料进行防护外,通过合理的三维布置也可实现防水功能。
首先,整车搭铁是防水较薄弱的环节,容易使水渗入电器系统,所以从设计前期就要充分考虑整车电器的布局。
须使电器的安装点高于搭铁点,且搭铁线束安装方向向下,这样便可以利用安装位置的优化有效解决因水自身重力引起的渗水问题。

其次是距整车排水点较近的线束布置,例如门线束及后保线束,因会有雨水滴落到线束上,故此部分的线束需固定其走向设置最低点。
使滴落到线束上的水依托线束流到车外,从而达到保护电器系统的目的。
结束语
随着汽车电子的飞速发展,整车电气日渐增多,整车的安全性和稳定性就变得越来越重要。作为整车神经系统线束的安全设计,不仅要依托传统技术,更要不断探索和学习新技术。
扫一扫
扫一扫